<專利申請系列-什麼東西能申請專利>
<GIPR Channel>的系列文章是-半導體產業。每一期逐步的展開,解析半導體產業的各種技術領域之應用,希望透過淺顯易懂的案例,就能吸收熱門產業的創新點子。未來強哥持續規劃不同產業的系列文章,如果你有想要了解的議題,請留言告訴我,我會優先為你製作特刊。
半導體產業的AOI應用在當今科技快速演變的時代中,正變得愈發重要。隨著市場需求的增長和製程技術的不斷進步,如何提高生產效率和產品品質成為半導體廠商面臨的重大挑戰。自動光學檢測(AOI)技術的引入,為半導體產業提供了一條有效的解決方案。透過高精度的檢測能力,AOI技術不僅能提升良率,還能確保每一顆晶片的品質符合標準,讓業者在競爭激烈的市場中占有一席之地。本期”什麼東西能申請專利”我們就來看看關於半導體產業的AOI應用。
《孫子.謀攻》知彼知己者,百戰不殆。擬定智財競爭策略,贏得市場競爭優勢。
目次
- 半導體產業的AOI應用能申請專利嗎?
- 發明專利案例
- 新型專利案例
- 設計專利案例
- 下期預告-半導體產業的大數據分析
一、半導體產業的AOI應用能申請專利嗎?
<<強哥提醒!若您不想看細節,只需知道半導體產業的AOI應用,包括AOI技術的核心功能、AI在瑕疵檢測中的具體應用現狀,以及未來市場趨勢如何影響這項技術的發展。此段內容您可只看圖表唷!>>
(一)AOI技術在半導體產業的應用與意義
- 提高良率與品質控制:AOI技術透過高解析度相機與光源,能夠快速且準確地檢測晶片製造過程中的缺陷,如焊點異常、短路、元件錯位等。
- 加速生產流程:傳統的人工檢測往往需要大量的人力與時間,而AOI系統可以每分鐘進行千次檢測,大幅提升檢測效率,縮短生產週期。
- 準確的缺陷識別:AOI技術利用影像處理與人工智慧(AI)演算法,自動比對設計規格,能準確辨識不同類型的缺陷,這使得檢測結果更具一致性與可重複性。
- 適應複雜的製程需求:AOI系統可透過2D及3D檢測技術,靈活應對多樣化的檢測需求。3D AOI尤其能夠檢測立體結構的元件,適用於更精細的檢查。
- AI的整合提升效能:透過深度學習,系統可以自動學習瑕疵特徵,提高檢測準確性並減少誤報率。
| 檢測方式 | 效率 | 精度 | 人力需求 |
| 傳統人工檢測 | 低 | 中等 | 高 |
| AOI技術 | 高 | 高 | 低 |
(二)半導體產業AI瑕疵檢測的應用現狀
越來越多的企業選擇將人工智慧(AI)與自動光學檢測(AOI)結合,以提升檢測準確性及效率。
- 技術進步的背景:對於檢測精度的要求日益提高。深度學習技術的發展,AI系統能夠從大量資料中學習和優化,進行更為精確的瑕疵檢測。
- AI與AOI的整合:AOI系統利用高解析度相機捕捉影像,並透過AI演算法快速識別缺陷,例如焊接不良和元件錯位等。深度學習模型能自動偵測和分類瑕疵,提升了檢測的速度及準確性,並減少人工覆判的需求。
- 目前應用的實例:在晶圓製造中,AOI與AI的結合能夠識別如裂紋、塗層不均及元件缺失等問題,確保每個晶圓的品質。AI深度學習模型能有效判斷複雜的瑕疵樣式,這在傳統AOI系統中是難以完成的任務。
- 市場需求與未來趨勢:根據市場調查,AOI系統在電子製造服務(EMS)和汽車電子領域的需求急劇上升,這些市場對於產品良率的要求越來越高,AOI+AI的結合成為剛性需求。未來的AOI系統將能處理更複雜的瑕疵,並能在不斷變換的生產環境中保持高效運作。
- 挑戰與機會:面臨技術門檻高、設置時間長及維護成本高等挑戰。AI在半導體檢測中的應用將會更加普遍,未來勢必成為提升生產效率與產品品質的關鍵技術。

(三)探討AOI技術的整體架構與功能
這項技術的核心功能主要以以下幾個方面呈現,對於確保產品的品質與生產效率至關重要。
- 瑕疵檢測:通過高解析度的相機和精確的光源,AOI系統能夠迅速捕捉到產品表面上的異常,如焊點缺失、元件錯位等。
- 尺寸量測:對產品的尺寸進行精確量測,確保所有部件符合設計規範。
- 定位與對位:AOI系統能夠確保元件在正確的位置上進行焊接或裝配。這不僅提高了生產過程的準確性,還能減少因為錯位導致的返工與浪費。
- 自動化與效率提升:取代傳統的人工檢測。根據研究顯示,AOI系統每分鐘可處理數千件產品,這比人力檢測的速度快上數倍,從而提升整體生產效率。
- 數據分析與報告生成:收集數據並生成詳細的報告。這些數據有助於生產過程的持續改進。例如,透過分析檢測結果,工程師能夠找出常見的缺陷類型,並針對性地改善製程,以提升產品品質。
(四)AOI技術架構
| 組成部分 | 功能描述 |
| 相機 | 捕捉高解析度影像 |
| 鏡頭 | 聚焦光源,強化影像特徵 |
| 光源 | 提供必要的照明以凸顯缺陷 |
| PLC | 控制系統運行與數據處理 |
| 工業電腦 | 執行影像處理與檢測算法 |
| 檢測軟體 | 分析檢測數據,生成報告 |
(五)接著,判斷「半導體產業的AOI應用」能否申請專利?具不具備技術或設計?若要提升「技術性或設計性」,例如提升檢測靈活性、檢測速度、確認準確度、整合能力及應對複雜缺陷能力等特點。強哥的創新建議是:
- 深度學習技術的應用
- 傳統的AOI系統通常依賴於人為設定的檢測邏輯,對瑕疵的判斷相對僵化。隨著深度學習技術的引入,AI可以自動從大量數據中學習,以識別和分類瑕疵。例如,使用深層神經網路(DNN)進行瑕疵檢測,使系統能夠辨識各種不規則的缺陷,從而提高檢測的準確度和範圍。
- 提升檢測效率
- AI的運用使AOI系統能以更快的速度處理檢測任務。傳統AOI系統在檢測過程中需要大量的手動調整,但AI系統可以自動化調整參數,減少人力需求,並提高生產效率。例如,在晶圓檢測中,AI系統能夠即時分析數據並快速進行錯誤定位,從而縮短檢測時間。
- 靈活應對複雜缺陷
- AI的深度學習能力使AOI系統能夠有效應對製程中出現的複雜缺陷,如焊接高度的變化或元件位置的偏差。這使得AOI系統在處理各類瑕疵時具備更大的靈活性與適應性。
- 整合物聯網(IoT)技術
- 隨著IoT的普及,AOI系統也正朝向更智能的方向發展。AI與IoT的結合,使得AOI能夠在實時環境中收集數據並進行分析,這不僅提升了生產線的可視化,更加強了整體的自動化運作。例如,AOI系統可以即時跟蹤生產流程,並在發現問題時立即發出警報。
- 市場需求的變化
- 根據市場調查,隨著半導體產業對產品品質要求的提高,AOI系統的市場需求將持續增長。AI的應用不僅能滿足這一需求,更能在競爭激烈的市場中為企業提供優勢,這使得AOI技術市場規模預期將會持續擴大。
| 特點 | 傳統AOI系統 | AI驅動的AOI系統 |
| 檢測靈活性 | 受限於預設檢測規則 | 自動學習和調整 |
| 檢測速度 | 相對較慢,需人工調整 | 快速、即時反應 |
| 確認準確度 | 可能存在人工誤差 | 高準確度,減少錯誤 |
| 整合能力 | 獨立運作 | 可與IoT和自動化系統整合 |
| 應對複雜缺陷能力 | 不易應對新型缺陷 | 能夠靈活應對多樣化的缺陷 |
<實際上還有許多例子,如果有興趣歡迎私下與強哥延伸交流>

最後,有沒有存在法定不予專利的事由?例如:
- 沒有涉及生物學方法、人類或動物之診斷、治療或外科手術方法;
- 不可以有妨害公共秩序或善良風俗的內容;
- 不能只是純功能、藝術或電路布局;
- 不能是單純的自然發現、科學原理、中文輸入/語言/數學/遊戲方法或規則本身、人為方法(如以手指夾球)、商業方法、傳統技藝等。
- 特別需要留意的是:單純的設計概念、單純程式碼本身,應屬於著作權。
二、專利案例
(一)發明專利,其重點在於必須具有「技術性」;發明專利保護利用自然法則之技術思想的創作,包括構造、方法、功能、技術、製造、使用方便性等方面之技術改良或突破。因此,強哥認為「半導體產業的AOI應用」具有較高的技術層級,理所當然應取得發明專利。以下舉出發明專利案例讓大家瞧瞧:
- 一種適用自動光學檢測的元件圖像擷取系統及其方法(專利號I900349),申請日期2024/11/26,本發明主要目的是為了提高從電路板上擷取元件圖像的效率和準確性,特別是解決傳統固定位置擷取技術因基板位移或偏移導致的錯誤。該系統利用圖像處理伺服器,結合物件識別模型來精確定位待處理圖像中的電子元件,並計算出元件中心圖像座標。最關鍵的步驟是採用座標轉換演算法,通過比較元件中心圖像座標與標準座標,計算出座標轉換係數,然後利用這些係數將待處理圖像轉換為準確對齊的圖像,從而擷取到範圍正確的元件圖像供後續檢測使用。

(二)新型專利,其保護的是有形物品,而非技術概念或製造方法。因此,如果申請的「半導體產業的AOI應用」專利有涉及到物體之構造組合(如硬體的系統框架、架構、裝置、模組等),仍有可能得到保護,但強哥必須強調,新型專利不能單純申請「方法」,可考慮申請「系統」。以下舉出個新型專利案例跟大家分享:
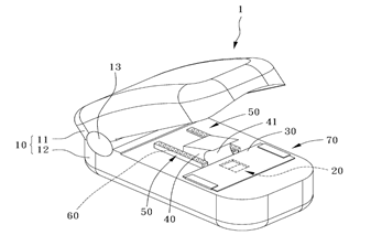
- 一種光學檢測裝置(專利號M675884),申請日期2025/07/04,本新型主要目的是測量人體手指的生理參數,例如脈搏和血氧飽和度。該裝置的核心結構包含一個主體以及兩個可活動結合的夾件,其中一個夾件設有光學感測單元,用於接收穿透手指的光線。為了確保測量準確性,此設計特別設有一個可調式抵擋件,使用者可以根據待測手指的尺寸來調整其位置,使手指腹能穩定貼合感測單元,從而提升量測的穩定度與精準度。

(三)設計專利,其必須「應用於物品」、「透過視覺訴求」,表示設計必須透過視覺方式呈現,因此,AOI應用的軟體或演算法並不適合申請設計專利,但是設備本體的機構設計是適合的標的。強哥舉出一個設計專利案例,跟大家分享:
- 一種光學檢測設備之機架(專利號D213716),申請日期2020/11/20,本設計目的是為了提供空間和組織化來容納電腦主機、檢測器材、以及各種電子元件和氣壓元件。特別值得一提的是,這個機架設計強調了功能性與視覺美感的結合,例如通過 LED 跑馬燈顯示操作狀態,並採用多層次的空間劃分和協調的幾何線條,使得設備不僅實用,還具有優雅流暢的外觀。

三、結語:下期預告-半導體產業的大數據分析
總結來說,在當今科技快速發展的時代,半導體產業面臨提高生產效率與產品品質的重大挑戰,而AOI技術成為有效的解決方案。AOI技術的核心功能包括瑕疵檢測、精確的尺寸量測,以及定位與對位,以確保元件正確裝配。其系統架構主要由相機、鏡頭、光源、PLC控制系統與工業電腦組成。AOI的應用還涵蓋數據分析與報告生成,有助於工程師針對性地改善製程,達成持續改進。當前趨勢是將深度學習等AI技術與AOI整合。在智慧財產方面,由於「半導體產業的AOI應用」具有較高的技術層級,理應取得發明專利。發明專利保護技術思想,例如提升圖像擷取準確度的座標轉換演算法系統(專利號I900349)。若涉及有形物品或硬體構造,則可考慮申請新型專利,例如具有可調式抵擋件的光學檢測裝置(專利號M675884)。此外,設備本體的機構設計若強調功能性與視覺美感的結合,則適合申請設計專利,如兼具組織化與優雅外觀的機架設計(專利號D213716)。

當然,研發創新、市場行銷、經營管理者應把時間、精神智力都灌注在本職上,因此挖掘智財、申請專利、智財策略的工作就交給專家吧!如果有興趣找強哥談談,讓強哥協助您取得所需重要資訊、追蹤技術、專利挖掘、迴避風險,歡迎與強哥聯繫。
在下一期的<GIPR Channel>文章裡,強哥會介紹半導體產業的工業控制技術案例,未來逐步的延伸討論ITC、機械結構、硬體、基礎物理、化學等技術,希望透過淺顯易懂的介紹,就能吸收這些熱門產業的創新點子。若你也想知道還有什麼東西可以申請專利。敬請期待!

