<專利申請系列-什麼東西能申請專利>
關於<GIPR Channel>的半導體系列文章已經轉進IC設計領域,未來會持續展開,如果你有想要了解的議題,請留言告訴我,我會優先為你製作特刊。
在人工智慧與嵌入式系統的結合上新的可能,從IC設計產業的激烈競爭,到微控制器(MCU)與專用神經處理單元(NPU)的緊密整合,不僅改寫了傳統MCU的運算能力,也讓邊緣計算技術得以在現場快速處理複雜數據,提升反應速度與系統的彈性。隨著技術不斷突破,無論是智慧家居中的節能控制,還是工業設備的預測性維護,這些晶片都能在有限功耗下完成高效能AI運算,結合感測器數據即時調整系統運作。本期”什麼東西能申請專利”我們就來看看關於微控制器IC。
《孫子.謀攻》知彼知己者,百戰不殆。擬定智財競爭策略,贏得市場競爭優勢。
目次
- 微控制器IC能申請專利嗎?
- 發明專利案例
- 新型專利案例
- 設計專利案例
- 下期預告-電源管理IC
一、微控制器IC能申請專利嗎?
<<強哥提醒!若您不想看細節,只需知道微控制器IC是推動現代化智慧裝置與工業自動化的關鍵引擎。此段內容您可只看圖表唷!>>
(一)IC設計業如何驅動AI微控制器IC的產業
- 產業現況與競爭態勢概述:IC設計產業在AI微控制器IC(MCU)領域扮演了關鍵推手角色。中國IC設計業者積極布局半導體自主化,努力提升本土AI微控制器算力與功能,並透過價格與規模優勢擴張市場;台灣IC設計業者則以技術創新與研發實力保持競爭力,尤其在高效能低功耗MCU與邊緣AI應用方面具備明顯優勢。
- IC設計業者的研發投入與創新策略:積極投入Arm Cortex-M55、M85核心結合NPU的AI MCU研發,專注提升邊緣計算能力與功耗效率。Solist-AI™微控制器配備自有AI硬體加速器AxlCORE-ODL,可現場快速學習異常偵測,有效應用於工業自動化與智慧機器人領域。業者善用全球先進製程技術,並憑藉軟體生態系如STM32Cube.AI、Reality AI等工具鏈,大幅縮短開發時間與降低門檻,讓AI微控制器更易被產業採用。
- IC設計產業發展的機遇與挑戰:中微半導體(Cmsemicon)漲價潮與產業鏈壓力凸顯出供應鏈成本上升問題,部分產品調價幅度達15%-50%,短期內影響市場價格結構。面對美國關稅與國際政治因素,中國半導體自主化動作加速,但台灣業者憑藉「台美對等貿易協定」(ART)享有關稅豁免優勢,形成「矽盾部隊」,吸引國際訂單轉單。中國業者在AIoT與低成本MCU市場擁有強大量產能力,但在高階AI微控制器競爭中仍需加強研發與軟體生態系建設。
(二)AI與微控制器IC結合:MCU技術及相關產業發展
- MCU技術的演進與AI應用推動力量:傳統微控制器(MCU)多用於簡單控制與訊號擷取,隨著AI與邊緣計算興起,MCU開始整合專用神經處理單元(NPU),提升執行機器學習推論的能力。
- 不同MCU廠商AI技術架構與效能比較
| 廠商系列 | 主要核心 (CPU) | AI 加速核心 (NPU) | 理論算力 (GOPS) | 製程技術 |
| ST STM32N6 | Cortex-M55 (800MHz) | Neural-ART | 600 GOPS | 40nm / 28nm |
| Renesas RA8P1 | Cortex-M85 (1GHz) | Ethos-U55 | 256 GOPS (@500MHz) | 22nm ULL |
| NXP i.MX RT700 | Cortex-M33 (Dual) | eIQ Neutron N3-64 | N/A (低時延優化) | 28nm FD-SOI |
| Nuvoton M55M1 | Cortex-M55 (220MHz) | Ethos-U55 | 約128 GOPS | 40nm |
- MCU在即時控制與超低功耗AI應用的差異化發展:德州儀器(TI)C2000系列MCU強調即時性與工控領域應用,搭載TinyEngine™ NPU,可在多晶片設計之外,單晶片實現馬達控制與AI功能整合,降低約30%物料成本,AI故障偵測準確度高達99%,顯著延長設備使用壽命。Ambiq Apollo510則強調超低功耗,運用專利SPOT®技術與Cortex-M55 Helium指令集,提升AI運算能效300倍,非常適合穿戴式健康監測等需長時間「始終在線」的應用。
- 高通與聯發科結合MCU技術擴展AIoT市場:高通Dragonwing Q-series MCU模糊MCU與MPU界線,搭載Hexagon NPU,算力高達77 TOPS,適合高階邊緣伺服器與支援生成式AI的智慧相機,並結合Arduino生態,降低嵌入式工程師進入AI開發門檻。聯發科Genio系列整合5G/Wi-Fi通訊與AI運算,專注智慧家電領域,提供高度整合的一站式方案,縮短開發週期並降低成本。
- MCU AI軟硬體開發生態系與工具鏈:各大MCU廠商積極提供AI開發工具,如ST的STM32Cube.AI可將主流AI框架(Keras、TensorFlow Lite)轉換為優化C程式碼,方便開發者快速部署AI模型。TI提供CCStudio™ Edge AI Studio,支援模型訓練與部署,內建超過60種AI模型與應用範例,協助工程師縮短開發時程。
- AI微控制器推動智慧機器人與工業自動化:先進人形機器人採用40至60顆高階MCU,負責實時關節磁場定向控制(FOC)、感測器數據快速轉換與處理,確保動作靈活與反應即時,展現「具身智能」。TI AM13Ex系列整合Arm Cortex-M33核心與TinyEngine NPU,支援多馬達自適應控制與預測性維護,應用於工業自動化與智慧家電,提升系統反應速度且降低成本。
- MCU AI模型優化與硬體限制挑戰:MCU記憶體與運算資源有限,直接執行未經優化的AI模型通常不可行,必須透過模型裁剪、特徵萃取與硬體感知優化技術,如Renesas Reality AI,將複雜資料分析轉化為精簡程式碼,確保模型能有效在MCU上運行。注重可解釋性AI,提升工業與車用領域對AI判斷的信任度,例如透過頻率震幅等物理特徵建立模型,讓工程師能明確追蹤判斷依據。

(三)邊緣計算助力AI微控制器IC革新
- 邊緣計算技術對AI微控制器的改變:傳統微控制器(MCU)主要負責簡單的訊號採集與控制,功能較為單一,無法處理複雜的運算任務。隨著邊緣計算(Edge Computing)興起,AI微控制器逐漸整合專用神經網路處理單元(NPU),使裝置能在本地端即時處理感測器資料,降低對雲端的依賴,提升反應速度與安全性。
- Solist-AI™微控制器的技術亮點與應用:配備三層神經網路AI加速器,能獨立完成異常偵測與數據輸出,無需連線雲端。支援現場快速學習(設備端學習),可加裝於既有設備,降低部署成本。適合多種感測器融合的工業自動化、智慧監控等場域,提升系統的自適應與異常反應能力。
- Alif Semiconductor與全新Balletto™系列無線MCU的市場定位:Alif推出的Balletto™系列無線MCU強調高整合度與低功耗,結合AI推理能力與無線通訊,適合智慧家居、物聯網裝置。與傳統MCU相比,此類產品將AI運算與無線功能整合於一顆芯片,大幅減少物料成本與功耗,提升整體系統效能。
- 2026年主要邊緣AI微控制器技術比較
| 產品/廠商 | 核心架構 | AI加速器 | 理論算力 | 製程技術 | 主要應用場景 |
| ROHM Solist-AI™ | 三層神經網路AI加速器 | AxlCORE-ODL | 依應用調整 | 未公開 | 工業異常偵測、設備端快速學習 |
| ST STM32N6 | Cortex-M55 (800MHz) | Neural-ART | 600 GOPS | 40nm / 28nm | 高畫質影像辨識、工廠自動化瑕疵檢測 |
| Renesas RA8P1 | Cortex-M85 (1GHz) | Ethos-U55 | 256 GOPS (@500MHz) | 22nm ULL | 預測性維護、複雜音訊處理 |
| Alif Balletto™ | 未公開 | 集成AI推理+無線功能 | 中高算力 | 未公開 | 智慧家居、物聯網無線AI裝置 |
- 邊緣計算AI微控制器的未來趨勢:晶片整合度提高,AI推理能力在毫瓦級功耗條件下快速提升,促使更多終端裝置具備本地智能。軟體生態系與AI工具鏈持續完善,如TI的CCStudio Edge AI Studio,簡化開發流程,讓更多工程師能快速導入邊緣AI。隨著5G、Wi-Fi 7等通訊技術融合,AI微控制器將成為智慧家電、工業物聯網、智慧城市等應用的核心基石。
(四)電源與顯示領域中的AI微控制器IC應用與發展
- AI微控制器IC在電源管理的應用:現代電源系統中,AI微控制器IC結合多種電源相關元件,如DC-DC轉換器IC、AC電壓零交叉檢測IC、線性穩壓器及複合電源管理IC(PMIC)等,提升系統效率與穩定度。同時,IPD智能功率元件與功率半導體(如SiC電源模組)結合AI微控制器,有助於實現更高功率密度與能效,推動資料中心與電動車電源方案的革新。
- AI微控制器在顯示技術中的整合與創新:顯示相關IC涵蓋LCD區段驅動器、圖形LCD控制器、TFT液晶驅動器及OLED驅動器。AI微控制器IC的導入能優化顯示畫質與功耗管理,並支援智慧顯示控制。AI微控制器搭配照度感測IC與光感測器,能根據環境光線自動調整顯示亮度,提升使用者體驗並節省能源。
- 邊緣AI微控制器如何強化電源與顯示:與傳統MCU相比,配備AI加速器的微控制器能在有限功率與資源下實現複雜AI推理,適合電池供電的智慧顯示裝置與電源管理系統。
(五)接著,判斷「微控制器IC」能否申請專利?具不具備技術或設計?若要提升「技術性或設計性」,可以從架構、運算、感測、功耗、應用與商業模式整理創新方向。AI 正從雲端走向「每一個裝置」,而 MCU(微控制器)就是這場轉變的入口晶片。強哥的創新建議是:
- MCU × AI 架構
- MCU → AIoT SoC(高度整合化)
- 異質運算架構(Heterogeneous MCU)
- 極低功耗 AI(Ultra-Low Power AI)
- Always-On AI(常時感知)
- 能效優化(TOPS/W)
- 感測 × MCU × AI 融合
- 多感測融合(Sensor Fusion MCU)
- 視覺與語音邊緣 AI
- 安全與隱私導向
- On-Device AI(裝置端 AI)
- 硬體安全整合
- 通訊與系統整合
- 多通訊整合 MCU
- 邊緣 × 雲端協同(Edge-Cloud Collaboration)
- AI 開發生態與工具
- TinyML 與模型工具鏈
- 模型部署標準化
- 應用場景創新
- 智慧家庭
- 車用邊緣 AI
- 醫療與健康
- 工業 IoT
- 智慧零售
- 商業模式創新
- MCU 平台化(Platform MCU)
- 模組化解決方案
- 從「高階設備」擴展到「所有裝置
<實際上還有許多例子,如果有興趣歡迎私下與強哥延伸交流>
最後,有沒有存在法定不予專利的事由?例如:
- 沒有涉及生物學方法、人類或動物之診斷、治療或外科手術方法;
- 不可以有妨害公共秩序或善良風俗的內容;
- 不能只是純功能、藝術或電路布局;
- 不能是單純的自然發現、科學原理、中文輸入/語言/數學/遊戲方法或規則本身、人為方法(如以手指夾球)、商業方法、傳統技藝等。
- 特別需要留意的是:單純的設計概念、單純程式碼本身,應屬於著作權。

二、專利案例
(一)發明專利,其重點在於必須具有「技術性」;發明專利保護利用自然法則之技術思想的創作,包括構造、方法、功能、技術、製造、使用方便性等方面之技術改良或突破。以下舉出發明專利案例讓大家瞧瞧:
- 一種資料傳輸裝置和方法(專利號I823680),申請日期2022/11/18,本發明主要目的在利用控制電路(微控制器IC)同時處理讀取資料和寫入資料之操作,增加資料傳輸速度。資料傳輸裝置可包括第一匯流排主控器電路、第二匯流排主控器電路、儲存電路、第一控制電路和第二控制電路。第一匯流排主控器電路處理和周邊裝置相關聯之資料傳輸。第二匯流排主控器電路處理和系統記憶體相關聯之資料傳輸。儲存電路儲存資料傳輸之資訊和指令。第一控制電路根據儲存電路儲存之資料傳輸之資訊和指令,控制第一匯流排主控器電路。第二控制電路根據儲存電路儲存之資料傳輸之資訊和指令,控制第二匯流排主控器電路。

(二)新型專利,其保護的是有形物品,而非技術概念或製造方法。因此,如果專利有涉及到物體之構造組合(如硬體的系統框架、架構、裝置、模組等),仍有可能得到保護,但強哥必須強調,新型專利不能單純申請「方法」,可考慮申請「裝置、系統」及其架構。以下舉出個新型專利案例跟大家分享:
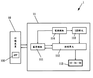
- 一種無線藍芽LED燈光控制系統(專利號M480166),申請日期2014/02/19,本新型主要目的在利用微控制器IC技術提升照明節點的操控便利性與能源效率。該系統的核心架構結合了安裝專屬應用程式(APP)的行動裝置,以及內含藍芽、控制與顯示單元的燈光控制電路模組,使使用者能透過手機遠端下達指令。透過脈寬調變(PWM)技術,系統不僅能精準執行燈光的開啟與關閉,還能進行多階層的亮度調整與紅綠藍(RGB)色彩變換。此外,系統內建的計時延遲功能提供了自動化排程,讓照明設備更符合現代智慧家居對節能與個人化情境的需求。

(三)設計專利,其必須「應用於物品」、「透過視覺訴求」,表示設計必須透過視覺方式呈現,因此,若技術涉及到物品的外觀、電腦圖像之設計,則可以申請設計專利。
三、結語:下期預告-電源管理IC
總結來說,在AI從雲端走向邊緣的競爭格局下,微控制器IC(MCU)已由傳統控制元件轉型為邊緣AI的核心入口。市場競爭不再僅比拼成本與算力,而是聚焦於「低功耗+AI運算+系統整合」能力。業者憑藉高效能低功耗設計與完整供應鏈,在高階AI MCU與工業應用中具備優勢。企業若要脫穎而出,關鍵在於打造AI MCU平台、生態系與工具鏈,提升開發者黏著度並加速市場滲透。從智財策略角度,競爭焦點應放在AI加速架構、感測融合、低功耗運算與系統整合設計,透過專利布局建立技術門檻,同時結合軟硬體生態形成難以複製的競爭優勢。最終,唯有將技術創新轉化為平台能力,並以智財策略鞏固市場位置,企業才能在邊緣AI時代中取得長期領先地位。

當然,研發創新、市場行銷、經營管理的實務工作者應把時間、精神智力都灌注在本職上,因此挖掘智財、申請專利、智財策略的工作就交給專家吧!如果有興趣找強哥談談,讓強哥協助您取得所需重要資訊、追蹤技術、專利挖掘、迴避風險,歡迎與強哥聯繫。
在下一期的<GIPR Channel>文章裡,強哥會繼續延伸IC設計產業,希望透過淺顯易懂的介紹,就能吸收這些熱門產業的創新點子。若你也想知道還有什麼東西可以申請專利。敬請期待!

