中華民國TIPO
一、經濟部智慧財產局於2025年06月30日公告「臺法兩國啟動專利審查高速公路試行計畫(PPH)」
智慧財產局與法國工業財產局(INPI)宣布,將於114年7月1日正式啟動臺法專利審查高速公路試行計畫(TIPO-INPI PPH MOTTAINAI pilot program)。此舉將大幅加快兩國之間的專利審查流程,提升申請效率並促進創新技術的國際保護。對於本國申請人,能基於臺灣核准專利向法國工業財產局提出PPH,啟動加速審查並提升獲准專利機會,以強化技術布局並縮短產品上市時程,同時亦助於降低申請成本與行政負擔,提高國際競爭力。
中國大陸CNIPA
一、國家知識產權局於2025年07月10日官網發布「AI技術創新躍升,中國全球創新指數排名升至第11位」
根據<法治網>的消息,文章深入探討了中國在人工智慧(AI)技術創新、專利保護與倫理平衡方面的發展。文章指出,中國在AI領域的創新能力顯著提升,專利申請量屢創新高,並在全球創新指數中排名第11位,凸顯其國際認可度。為了因應技術的快速發展,中國不斷完善AI專利保護體系,透過新的審查指南與申請指引,明確了AI專利的可專利化標準,特別是強調技術方案需與具體應用場景緊密結合,並實現充分公開與可複現性。此外,文章也強調了AI專利佈局中的倫理考量,呼籲在追求技術創新的同時,必須堅守「技術向善」的原則,確保AI發展服務於人類福祉,避免潛在的社會風險,最終目標是推動AI產業的高品質與負責任發展。
美國USPTO
一、USPTO官網於2025年07月09日發布「Remarks by Acting Director Coke Morgan Stewart at the 66th Assemblies of the World Intellectual Property Organization」
美國專利商標局 (USPTO) 代理局長科克·摩根·斯圖爾特在世界智慧財產權組織(WIPO)第66屆大會上的開幕致詞。演講強調WIPO的核心使命是「促進全世界的智慧財產權保護」,並指出組織應專注於改善和簡化國際申請與註冊服務,使其更具成本效益。此外,該致詞明確表示反對在專利申請中增加與可專利性無關的要求,例如披露傳統知識或遺傳資源,並呼籲所有註冊系統都應朝向財務自給自足發展,避免以盈餘系統補貼虧損系統。總體而言,此演講旨在確保WIPO的工作和資源使用能直接支持全球創新者和創造者,視智慧財產權為所有國家經濟繁榮的關鍵。
日本JPO
一、JPO官網於2025年07月01日發布「在2025年世博會期間舉辦一系列國際論壇」的消息
日本特許廳(JPO)將在大阪關西世博會期間舉辦一系列國際論壇,並得到世界智慧財產權組織(WIPO)領導人和各國智慧財產權機構負責人的支持。在這些論壇期間,日本特許廳將舉辦如何利用智慧財產權應對氣候變遷議題的討論會。此外,論壇也將促進知識產權領域各界人士的積極參與。EXPO2025 JPO-WIPO AWARD頒獎典禮也將表彰那些利用智慧財產權在氣候變遷等領域設計更美好未來社會的企業,以及女性的積極參與。
韓國KIPO
一、KIPO官網於2025年06月30日發布「KIPO Cracks Down on Fake Beauty Products – Beware of Counterfeit “Water-like” Cosmetics」
韓國智慧財產局 (KIPO) 的特別司法警察破獲了一個大規模的仿冒化妝品集團,該集團透過販售假冒SK-II、Kiehl’s和Estée Lauder等知名品牌的產品來獲取巨額利潤。這些假冒商品不僅製作精良、難以辨識,甚至連經驗豐富的經銷商都難以區分真偽,並且透過多種管道流通。儘管分析顯示這些仿冒品不含已知有害物質,但它們缺乏關鍵功效成分且未經品管,對消費者構成潛在風險,因此KIPO呼籲消費者務必提高警覺,並透過官方管道購買。
歐洲EPO/EUIPO
一、EPO官網於2025年07月09日發布「SACEPO annual meeting fosters dialogue on quality actions, digital transformation and legal framework」
歐洲專利局(EPO)的的常設諮詢委員會(SACEPO)最近舉行了一次年度會議,匯集了知識產權領域的專家,共同討論歐洲專利體系的最新進展與策略。會議的核心焦點在於提升專利品質、加速數位轉型、以及檢視統一專利(Unitary Patent)的實施成效。與會者對於專利搜尋報告的改進、數位化進程的推進(目標是到2027年實現全面數位化),以及統一專利逐漸普及的現狀表示肯定,但也針對中小企業的數位包容性、法律從業人員名單的區分,以及人工智慧的負責任應用提出了建議,強調人類在決策中的主導地位。這次會議不僅是歐洲專利局傾聽用戶意見的重要平台,也為未來政策的制定提供了寶貴的洞察,旨在持續優化歐洲專利授予流程並確保體系的透明度與效率。
二、EUIPO官網於2025年06月30日發布「Real-time alerts and AI plug-ins in EUTM EasyFiling form help reduce uncertainty, improve predictability and enhance the user experience」
歐盟智慧財產局(EUIPO)透過其「歐盟商標簡易申請」(EUTM EasyFiling)工具,推出一套創新的AI預審服務,旨在簡化商標申請流程並降低風險。這些新功能,特別是針對中小型企業和個體創業家,提供了即時警示和指導,例如檢查潛在的「類似先前裁決」、「現有歐盟商標」、「網域名稱衝突」以及「與其他智慧財產權的衝突」,甚至識別「冒犯性內容」。儘管這些AI工具能顯著提高申請的可預測性和安全性,但最終的審核決定仍會由人類審查員做出,確保了信任與透明度。
世界智慧財產權組織WIPO
一、WIPO官網於2025年07月09日發布「KIMCHANGSOO WHISKY: One Man’s Quest to Produce Korean Whiskey」
世界智慧財產權組織 (WIPO) 近期推出馬德里體系的故事。介紹了「金昌洙威士忌」,一款由韓國釀造並在全球享用的酒品。它講述了金昌洙先生如何經過十年的努力,克服挑戰,實現了在韓國釀造威士忌的夢想,並成為該國最早的威士忌品牌之一。文中也提及他運用馬德里體系,成功地在國際間保護品牌權益,將KIMCHANGSOO WHISKY推向全球重要的威士忌市場,展現了其韓國製造的獨特魅力。
(文章連結:https://www.wipo.int/web/ip-advantage/w/stories/kimchangsoo-whisky-one-man-s-quest-to-produce-korean-whisky )
二、WIPO官網於2025年07月08日發布「Trademarks of Croatia are Now Available in the Global Brand Database」
世界智慧財產權組織 (WIPO) 公布消息,全球品牌資料庫現包含克羅埃西亞國家資料庫,新增近 58,000 筆記錄,使可用資料來源總數達到 87 個。
探索魷魚遊戲中的圓形、方形與三角形的深層含義
魷魚遊戲圓形、方形、三角形的符號,不僅僅是劇中的視覺元素,更是承載著深厚的社會和文化意義。在這部全球熱門的劇集裡,這三種幾何圖形代表了不同的角色與階級,從工人到士兵,再到監工,這樣的分級制度不僅展現了角色間的權力結構,也反映出現實社會中的不平等與階級差異。當觀眾在緊張的情節中追隨每一位角色的命運,這些符號所傳遞的深層意義卻猶如潛藏在水面的冰山,讓人不禁思考其背後的社會控製與人性掙扎。
圓形、方形和三角形符號解析
在《魷魚遊戲》中,圓形、方形和三角形的符號並非單純的幾何圖形,而是承載了深厚的象徵意義。這些符號不僅出現在守衛的制服上,也在遊戲的設計中反映出角色的階級與權力結構。以下是這三個符號的詳細解析:
- 圓形:代表最低階的工人。這些工人負責將參賽者帶到遊戲地點及處理失敗者的遺體。他們的工作主要是執行上級指令,且在職位上沒有發言權。圓形的設計象徵著無銳角的順從,正如同太陽的圓形象徵著光明與生命,但在此卻是被動的角色。
- 三角形:這個符號代表士兵,負責維持遊戲中的秩序及執行命令。他們手持武器,並在必要時展現攻擊性。三角形的尖銳特徵象徵著危險與攻擊性,這一角色在遊戲中是執行者,負責直接處理參賽者的生死。
- 方形:代表監工,負責管理圓形和三角形的工作人員。方形所象徵的穩定性和權威性,使得它在這個階級結構中扮演極為重要的角色。這些監工的決策影響著遊戲的進行,並且他們的行動受到神秘領導者的控制。
魷魚遊戲第三季結局與符號的交織
在《魷魚遊戲3》的結局中,圓形、方形與三角形這三個符號的含義再次成為了故事的核心,並且在劇情發展中扮演了關鍵角色。這些幾何圖形不僅是守衛的代表,也是遊戲規則與角色分層的象徵。以下是一些重要的符號亮點:
魷魚遊戲及其符號的文化意義
在《魷魚遊戲》中,圓形、方形和三角形三種符號不僅是劇情中的視覺元素,還承載著深厚的文化意涵,反映出社會結構與人性。這些幾何圖形的選擇並非隨意,而是精心設計的符號系統,與劇情息息相關。
結語:
如果你喜愛這類主題,不妨在留言區分享你的看法,讓我們共同探討《魷魚遊戲第三季與圓形、方形、三角形》的深層意義。希望這篇文章能激發你對於這部作品的更多思考與探索!
當然,在進行文化創意與創新應用的過程中,會產生各式各樣的智慧財產與商業價值,不僅要把握應享有的權利,更要注意相關的風險。如果有興趣歡迎來跟強哥聊聊,搜尋<GIPR Channel>或<GIPR.TW>與我聯繫。
豐富的半導體產業鏈:透視上中下游的切入點
從本期開始<GIPR Channel>的文章將進入新的系列,強哥先向同學介紹-半導體產業。<強哥在GIPR Channel部落格的同一篇文章中,有更多從技術應用與創新的觀點介紹,想知道的同學請自行到強哥的GIPR Channel部落格閱讀>
一、半導體產業鏈能申請專利嗎?
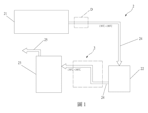
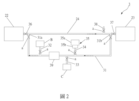
<<強哥提醒!若您不想看細節,只需知道半導體產業鏈包括:上游IC設計與製造、中游晶片代工製造、下游封裝測試。此段內容您可只看圖表唷!>>
(一)半導體產業鏈的上游:設計與製造的基礎
在半導體產業鏈中,上游的角色至關重要,主要聚焦於IC設計及矽晶圓的生產。這一部分不僅是整個半導體產業的基礎,更是推動科技進步的引擎。以下是上游在半導體產業鏈中的重要性與功能。
- 設計與創新推動
- 無廠半導體模式的興起
- IP設計的重要性
- 穩定的原材料供應鏈
- 市場影響與趨勢
(二)半導體產業鏈的中游:代工系統運作
在半導體產業鏈的中游,晶片代工系統扮演著至關重要的角色,主要負責將IC設計公司所設計的電路圖實際製作成晶圓半成品。以下是中游晶片代工系統的運作方式:
- IC設計的委託
- 晶圓製造的過程
- 先進製程的應用
- 市場需求的影響
- 成熟製程的市場動態
- 供應鏈的變化
(三)半導體產業鏈的下游:封測與市場動態
在台灣的半導體產業中,封測廠的地位越來越受到重視,尤其是在快速變化的市場環境中。以下將簡要分析封測廠在市場上的地位及其面臨的挑戰與機遇。
- 市場份額與重要性
- 封測流程的複雜性
- 技術進步帶來的機會
- 市場競爭與未來展望
(四)接著,「半導體產業鏈的創新應用」能否申請專利?強哥的5個創新建議是:
1、上游材料與設備
- 先進材料研發
- 環保與低碳製程材料
- 先進製程設備
- AI驅動製程優化
2、中游晶圓製造(晶圓廠/Foundry)
- 製程微縮
- 異質整合(Heterogeneous Integration)
- AI與數位孿生(Digital Twin)應用於製程控制
- 碳中和製造
3、下游封裝與測試(OSAT)
- 先進封裝技術
- 熱管理創新
- 高速傳輸介面
- 智慧測試系統
4、應用端(系統整合與終端產品)
- AI晶片與專用處理器(ASIC)
- 低功耗物聯網晶片
- 量子半導體與光子晶片
- 汽車與高可靠應用
5、整體系統與策略創新
- 開放式晶片架構(如RISC-V)
- Chiplet與開放介面標準(如UCIe)
- ESG與供應鏈韌性
- 智慧工廠與自動化
<關於半導體產業鏈的創新應用的5個創新方向的專利申請建議,這些在強哥的GIPR Channel部落格裡有更多的詳細介紹唷>
二、專利案例
<這一段在強哥的GIPR Channel部落格裡有更完整的介紹>
- 一種IC設計資料庫產生方法以及IC設計方法(專利號I739101),申請日期2019/05/07。
- 一種半導體製程設備之輸氣管輔助清洗裝置(專利號M672261),申請日期2025/03/27。
- 一種半導體模組(專利號D219624),申請日期2021/12/09。
三、結語:下期預告-半導體產業的AI應用
總結來說,半導體產業鏈作為現代科技的基石,涵蓋了上游的IC設計與原材料供應、中游的晶圓代工製造,以及下游的封裝測試等關鍵環節。台灣在此全球供應鏈中扮演著舉足輕重的角色。面對AI、物聯網、高效能運算及永續發展等趨勢,該產業鏈正持續演進。因此,透過發明、新型和設計專利來保護技術創新與應用,不僅能提升競爭優勢,更是掌握未來科技脈動的關鍵策略。
當然,研發創新、市場行銷、經營管理者應把時間、精神智力都灌注在本職上,因此挖掘智財、申請專利、智財策略的工作就交給專家吧!如果有興趣找強哥談談,讓強哥協助您取得所需重要資訊、追蹤技術、專利挖掘、迴避風險,歡迎與強哥聯繫。
在下一期的<GIPR Channel>文章裡,強哥會介紹半導體產業的AI應用案例,未來逐步的延伸討論軟體、電資、網通、雲端及韌體,以及機械結構、硬體或基礎物理化學等技術,希望透過淺顯易懂的介紹,就能吸收這些熱門產業的創新點子。若你也想知道還有什麼東西可以申請專利。敬請期待!