第六期-自我成長內容-20240919


By Eric CHU 2024/09/19

強哥的GIPR CHANNEL

最新官方消息

中華民國

經濟部智慧財產局於2024年9月11日公告「專利法部分條文修正草案」

為新興數位產業蓬勃發展,運用數位技術之圖像設計愈趨多元,參考國際設計保護之趨勢,並考量我國產業實務需求,修正設計專利制度;另參酌我國歷年司法實務見解,修正真正專利申請權人循民事途徑取回其權利,並完善相關配套機制。修正草案重點:擴大圖像設計保護標的,鬆綁圖像設計應用於「物品」之限制;導入「多個近似設計合案申請」制度;設計專利之優惠期期間由6個月放寬為12個月;設計專利申請分割之時點放寬;明定真正專利申請權人取回其權利應循民事途徑解決爭議。對草案有任何意見或修正建議者可於60日內提供書面意見。

中國大陸

一、國家知識產權局於2024年9月13日發布消息「第十三屆中國知識產權年會今日開幕」以“知識產權為新質生產力蓄勢賦能”為主題

根據<知識產權報>第十三屆中國知識產權年會將於9月13日至14日在北京中關村國際創新中心舉行,主題為「知識產權為新質生產力蓄勢賦能」。此次年會將有150位中外嘉賓進行現場演講,約200家展商進行展覽展示,並包含「1+11」個專題論壇。年會將聚焦知識產權的最新政策和行業實踐,探討智慧財產權在激勵保護創新及促進新質生產力發展中的支撐保障作用,以及中國企業國際化發展過程中遇到的智慧財產權保護問題。

二、國家知識產權局於2024年9月13日發布消息「一批深化“一带一路”知识产权合作项目即将启动」

根據<知識產權報>,第三屆「一帶一路」知識產權高級別會議於9月11日在北京舉行,主題為「開放、合作、發展、共贏」。會議重點在於促進「一帶一路」國家間的知識產權合作,包括啟動一批務實合作項目,涵蓋專利、商標、地理標誌、著作權等領域。這些項目旨在提升知識產權合作的深度與廣度,包括促進業務合作、提升價值、強化能力建設、提供服務、深化民間交往等方面,最終目標是打造「一帶一路」知識產權合作的新格局,推動共建國家知識產權事業高質量發展。

三、國家知識產權局於2024年9月6日發布消息「引活水育新苗」——天津按下金融改革创新加速键

根據<新華社>,天津積極推動金融服務科技型企業發展。通過多種金融工具,例如科技型企業貸款、數據知識產權質押貸款、主辦行制度、特色金融等,為天津製造業的發展提供有力支持,並促進金融業對經濟增長的貢獻度持續攀升。

美國

2024年9月9日USPTO官網發布「Jerry Ma honored with prestigious Samuel J. Heyman Service to America Medal® for excellence incorporating artificial intelligence at the USPTO」

美國專利商標局(USPTO)新興技術總監兼首席人工智慧官Jerry Ma在公共服務方面具有卓越表現而被授予獎章(Samuel J. Heyman Service to America Medal®)。Jerry Ma推動專利審查流程中使用人工智慧(AI)工具方面的領導力和奉獻精神,以及塑造USPTO政策以應對AI在智慧財產權和創新中不斷發展的應用,並為USPTO的利益相關者和人員提供了關鍵的政策指導。Jerry Ma的工作包括開發AI檢索工具和AI模型,以供審查委員查閱與專利申請相關的文件,並培訓USPTO員工以處理AI相關問題。他的貢獻獲得了認可,彰顯了AI技術在公共服務和創新中的重要作用。

日本

一、2024年9月5日JPO官網發布「多元化與包容性(D&I)倡議頁面更新(JPO價值觀、與日本組織的合作等)」

為了激勵創新,有效利用我們現有的人類多樣性(包括婦女和青年)是必不可少的。基於這一觀點,全球掀起了一場推動知識產權領域多樣性和包容性(D&I)的充滿活力的運動。日本專利局(JPO)了解這項運動的重要性,因此促進多元化和包容性(D&I),以實現一個具有不同背景和價值觀的個人能夠發揮創造力的社會。跨組織的JPO多元化與包容性團隊成立於2023年,旨在透過訪談智慧財產權專家進一步加速D&I運動。

二、2024年9月10日JPO官網發布「人工智慧與智慧財產權國際對話」

日本專利局副局長安田富俊於2024年9月9日出席美國專利商標局(USPTO)以視訊會議形式主辦的人工智慧與智慧財產權國際對話,G7成員國的智慧財產權局和歐洲專利局(EPO)。會議期間,與會主管局就人工智慧相關發明的發明人身分、人工智慧相關發明的專利客體資格等人工智慧相關議題進行了熱烈的討論。義大利專利商標局未能出席。

歐洲

一、2024年9月12日EPO官網發布「Simplification of Filing and Signing of Authorisations」

歐洲專利局將從2024年11月1日起簡化授權處理。接受授權電子簽名,歐洲專利局將接受廣泛的授權電子簽名,包括文字字串、數位和傳真簽名,從而符合適用於支援專利申請轉讓登記請求的文件的法律要求。

二、2024年9月12日EPO官網發布「New Innovation Strategy for EU Is Vital–Says Report」

馬裡奧·德拉吉(Mario Draghi)—歐洲央行前行長—接受歐盟委員會的委託,編寫一份關於「歐洲競爭力的未來」的報告。報告著眼於單一市場中的行業和公司所面臨的挑戰。調查結果將有助於歐盟委員會制定歐洲可持續繁榮和競爭力的新計劃,特別是為有競爭力的產業和優質就業制定新的工業協議,該協議將在本屆歐盟委員會的前100天內提出。馬裡奧·德拉吉(Mario Draghi)呼籲歐洲將投資提高到戰後歐洲未見的水平。如報告所述,將創新轉化為商業化是重振成長方法的核心。此外,報告也意識到專利數據可以協助政策制定,專利制度有助於經濟成長。馬裡奧·德拉吉(Mario Draghi)特別強調了統一專利的重要性—呼籲所有歐盟成員國加入該體系(目前已有18個成員國加入)。他也比較了歐洲、美國和中國的發明商業化水平,與歐洲專利局首席經濟學家的研究結果一致,特別是與下個月關於大學發明商業化的研究一致。這項研究將於10月22日由專利與技術觀察站組織的線上活動進行討論。馬裡奧·德拉吉(Mario Draghi)的高度戰略文件中多次引用了歐洲專利局的工作。根據2028年戰略計劃(https://www.epo.org/en/about-us/office/strategic-plan-2028),多項舉措將加強歐洲專利局在這些問題上的定位。

WIPO

2024年9月10日WIPO官網發布「Patent Landscape Report on Agrifood: The United States leads in Global AgriFood Innovation」

世界智慧財產權組織(WIPO)在Patent Analytics專欄,指出美國在「農業食品」領域的國際專利申請數量居冠,但印度、中國和韓國的增長顯示,在迫切需要加強全球糧食安全的情況下,該領域正在發生轉變。過去20年來,農業食品領域已獲得超過350萬項發明專利,而對農業食品科技的投資也從2012年的30億美元增長至2022年的近300億美元。農業食品包括與農業和食品生產相關的廣泛活動,從耕作到配送、消費和廢棄物管理。該領域在確保全球糧食安全、推動經濟增長和促進可持續發展方面發揮著重要作用。透過利用創新和技術,農業食品系統可以提高生產力、減少浪費,並確保為不斷增長的人口提供安全、營養的食品。雖然美國仍然是農業食品國際專利申請數量最多的國家,但日本和中國現在已位居第二和第三位。同時,印度的專利申請年度增長率最快,緊隨其後的是中國和韓國。隨著越來越多的創新者加入該領域,他們正在探索如何應對全球糧食安全面臨的挑戰,以及如何使食品生產更有效率、可擴展、可持續和有韌性。在接下來的25年裡,世界人口預計將增長20%,而2050年的食物需求量預計將比2013年增加56%。城市化進程的加速已經影響了自然資源和農業用地的可用性,而氣候變化對作物產量和牲畜生產造成毀滅性影響。農業食品領域非常廣泛,創新分為兩大類:農業科技,佔總專利數量的60%,以及食品科技,佔剩下的40%。由於對農業自動化和物聯網(IoT)技術的興趣日益濃厚,農業科技專利出現了增長。報告顯示,農業機械製造商,特別是來自美國、日本和歐洲的公司,以及來自德國、中國和日本的農藥化學品公司是農業科技專利申請的主要申請者。來自亞洲的科技公司在物聯網相關的細分領域中佔據主導地位。食品科技的增長相對停滯。創新集中在供應鏈,其次是食品化學、食品科技、消費者科技和食品服務。儘管農業食品專利激增,但只有12%的專利(45萬項)是在第一個申請專利機構以外的機構申請的。值得注意的是,來自亞洲,特別是來自中國的專利申請更有可能只在國內尋求專利保護。

近期熱門話題

炭火溫暖月光夜,寶盒珍藏團圓時!

當強哥發布這篇文章時,今年中秋節(2024年9月17日)才剛過,可是文章是在中秋節前夕寫的。強哥有商學院的DNA,自然從經濟學角度在看中秋節的需求和供給兩方面。既然大家肉也烤了、餅也吃了,但是中秋為何要烤肉?

根據興大中文學報(2016)的學術研究,台灣在1970年代經濟起飛,需要提升休閒活動、社交活動、滿足社會風氣(一家烤肉萬家香)。然而,烤肉相關產業基於社會風氣盛行,烤肉用具、食材、露營用品等相關產業蓬勃發展,提供了消費者更多選擇,也促進了烤肉活動的普及。例如烤肉醬廠商抓住了市場機會,透過廣告行銷策略,打出「一家烤肉萬家香」的廣告金句,將烤肉與中秋節慶連結,進一步刺激了烤肉的需求。

關於中秋的經濟價值,根據2024年9月10日CTWANT報導中秋商機上看509億新台幣,且其中引用yes123求職網的調查結果顯示中秋對台灣經濟帶來的正面影響,於相關市場的消費規模龐大。強哥認為,除了烤肉器具之外,月餅也不容小看。所以值得期待的,強哥就要帶大家看看十分有梗的「月光寶盒」商標、以及「改良型炭爐」專利,針對它們的特點,簡介如下。

  • 「月光寶盒」商標:曾經星巴克(悠遊生活事業股份有限公司)為此商標之權益,主張S HOTEL(汪小菲當時身為S HOTEL負責人)涉侵害其商標權。所幸最後雙方和解,沒有造成更大的商業損失。

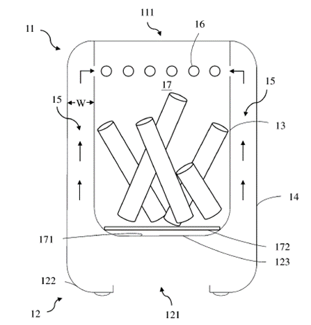
  • 「改良型炭爐」專利:一般而言,炭爐的內部悶熱、缺氧,為要提升空氣流通效果,有一種改良型炭爐(專利號M644993)。主要係於一爐體(11)的內側壁(13)與外側壁(14)之間形成一氣流通道(15),且內側壁(13)上形成一個以上的通孔(16),並使該通孔(16)與該爐體(11)的底部(12)開口(121)形成連通。藉由這種結構的改良,可以幫助氣流流通、改善炭爐內缺氧問題。

中秋烤肉、月餅都是台灣經濟發展和社會變遷下產生的文化現象,已成為台灣人中秋節慶祝活動的一部分,並形成一個獨特的經濟現象,而且不僅滿足了人們的休閒和社交需求,也為相關產業帶來了巨大的商機。強哥想要提醒大家的是,特別是在人文創新、服務創新及科技創新的過程中,都會產生許許多多的智慧財產,在將它們商業化的時候,也不要忽略了該享有的權利。如果有興趣歡迎來跟強哥聊聊,搜尋<GIPR Channel>或<GIPR.TW>與我聯繫。

專業知識提升

專利地圖應用之專利分析簡介

從本期開始,強哥將陸續開始分享一些關於專利地圖的應用,介紹在專利地圖中,如何進行專利分析、市場分析、技術面與管理面的分析。本期先介紹專利分析的基本架構,希望可以幫新創企業、中小企業及國際企業,在研發創新的初期就以專利為基礎擬定競爭策略,贏得市場競爭優勢。

一、專利分析目的

專利分析的目的包括了解技術發展趨勢、作為產品開發策略擬定之參考依據,以及協助企業在研發前期、研發階段、商品化階段、授權/移轉/技術聯盟階段等不同階段,利用專利資訊做出有利的決策。

二、專利分析流程

  1. 確定主題和範圍
  2. 研擬檢索策略
  3. 進行專利檢索
  4. 篩選/分類專利
  5. 分析專利
  • 管理面分析

趨勢、申請國、所屬國、專利權人。

  • 技術面分析

產業架構、技術功效矩陣、技術應用矩陣、重要專利。

6. 策略分析

7. 撰寫專利分析報告

三、專利分析應用

  1. 技術發展分析
  2. 專利布局
  3. 競爭對手分析
  4. 授權/被授權對象分析

四、專利分析工具

  • 專利資料庫/分析軟體

    • Google Patents、Espacenet、各個國家的智慧局、PatentInspiration、PatCit、Questel Orbit Intelligence Free Trial等。

五、專利分析價值

專利具有獨佔性、排他性等法律效力,企業可以透過專利訴訟等方式維護自身權益。專利文獻包含產業最新技術資訊,且容易取得,是企業進行技術發展分析的重要資料來源。

六、結語

專利分析在知識經濟時代扮演著至關重要的角色,企業應善用專利分析工具和資源,制定有效的專利策略,以提升自身的競爭優勢。

從下一期的文章<GIPR Channel>裡,我們將繼續討論關於專利地圖的應用,介紹專利分析架構中更具體與細節的內容。敬請期待!

感謝您的訂閱!

想閱讀更多智財相關文章:

Blog: https://gipr.tw/

想參與社群交流:

FB: https://reurl.cc/9vkQG8

IG: https://reurl.cc/ez2ZOR

YT: https://reurl.cc/NQMEG5


發佈留言

發佈留言必須填寫的電子郵件地址不會公開。 必填欄位標示為 *